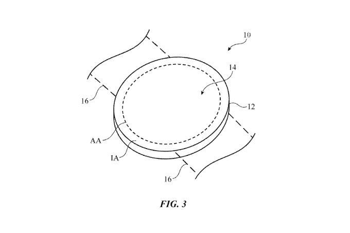
Apple vừa nhận được bằng sáng chế về một thiết bị đeo được có màn hình tròn. Bằng sáng chế số 9965995 được Hoa Kỳ cấp phép có tiêu đề "Thiết bị điện tử có màn hình cạnh cong".

Với những hình ảnh trong bằng sáng chế, chúng mô tả một thiết bị điện tử có màn hình dạng hình tròn. Điều này dẫn đến luận điểm cho rằng, Apple xin bằng sáng chế đồng nghĩa với việc hãng sẽ phát triển những chiếc smartwatch với thiết kế mới.
Về nội dung, bằng sáng chế đề cập đến một công nghệ nhằm khắc phục các nhược điểm của những thiết bị màn hình tròn. Chúng nói rằng các tấm nền với những điểm ảnh pixels không phù hợp để phát triển những thiết bị có màn hình tròn. Bằng sáng chế sau đó đã mô tả chi tiết giải pháp mà táo khuyết thực hiện nhằm khắc phục nhược điểm này.

Các sản phẩm được đề cập trong bằng sáng chế gồm đồng hồ đeo tay, mặt dây chuyền cùng những chiếc kính mắt. Những thiết bị tích hợp công nghệ AR chỉ có thể được Apple đưa ra thị trường sau khoảng vài năm nữa. Với đồng hồ thông minh, táo khuyết có thể tạo ra chúng ngay lúc này.
Theo Vietnamnet
