Nếu bạn dùng iPhone, có lẽ việc đặt báo thức là một việc không thể thiếu mỗi tối đúng không? Hiện tại, Apple đang có ý định tích hợp tính năng tự động đánh thức người dùng nhờ vào việc phân tích giấc ngủ và thói quen ngủ, từ đó nhắc nhở người dùng ngủ đủ giấc và dậy đúng giờ.

Cụ thể, một bằng phát minh của Apple vừa được phê duyệt bởi Văn phòng Sáng chế và Nhãn hiệu Hoa Kỳ (United States Patent and Trademark Office - USPTO) đã cho thấy điều ở trên. Tính năng mới này sẽ quản lí thời gian và thói quen ngủ, giờ giấc thường ngủ/dậy các ngày trong tuần của người dùng.
Hệ thống quản lí giấc ngủ mới này sẽ theo dõi lúc nào người dùng bắt đầu ngủ thực sự bằng các cảm biến, từ đó điều chỉnh thời gian dậy để giấc ngủ vẫn được đảm bảo chất lượng cao nhất. Nếu hệ thống nhận thấy người dùng chưa đủ ngủ giấc, nó sẽ gửi một thông báo đến người dùng lời khuyên điều chỉnh lại thói quen ngủ.
Nói vui thì nó giống như một "người mẹ ảo" luôn nhắc con cái phải ngủ đúng giờ, và đánh thức chúng ta dậy vào mỗi sáng.

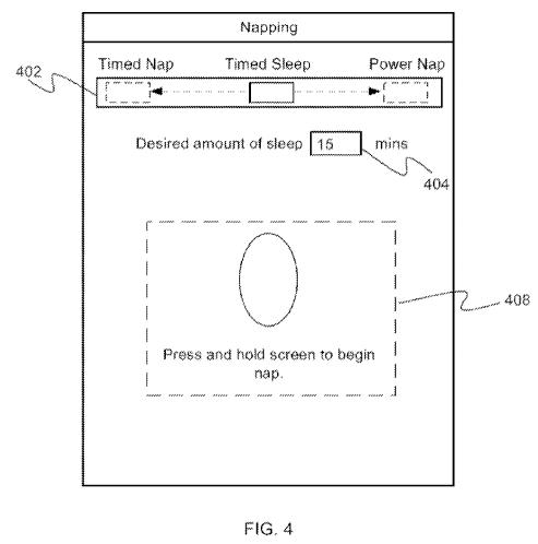
Bằng sáng chế miêu tả tính năng ngủ chợp mắt trong thời gian ngắn của Apple.
Ngoài ra, Apple cũng có phát minh ra một tính năng mới giúp người dùng có thể chợp mắt nhanh một cách dễ dàng hơn. Cụ thể người dùng sẽ để ngón tay lên màn hình (hoặc cầm điện thoại có để ngón tay lên) để bắt đầu ngủ chợp mắt trong khoảng thời gian ngắn đã định trước.
Hệ thống sẽ theo dõi khi nào người dùng đã thực sự chìm vào giấc ngủ (khi ngón tay không còn chạm vào màn hình nữa hoặc lực nhấn trên màn hình đã giảm) và từ đó kích hoạt động hồ báo thức đếm ngược. Đây là một tính năng rất đơn giản nhưng cực kỳ hữu dụng cho dân văn phòng hay những người thường xuyên phải ngủ trong quãng thời gian ngắn.
Hiện không rõ các tính năng mới trên sẽ được tích hợp vào iPhone khi nào, tuy nhiên đây thực sự là các tính năng hữu ích để chúng ta không phải lụi cụi đặt báo thức mỗi đêm hay cài giờ báo thức cố định trong các ngày nữa. Chúng ta hãy chờ xem khi nào có tính năng này nhé!
Theo Trí thức trẻ
