Từ lâu giới công nghệ đã xì xào về một mẫu smartphone (điện thoại thông minh) loại gập của Samsung. Nhưng bây giờ thì mọi thứ có vẻ ngày càng lộ diện thành hình hài rõ nét hơn và cho thấy không lâu nữa loại điện thoại động đáo này sẽ thành hiện thực.

Thiết kế điện thoại gập của Samsung mới được cấp bằng sáng chế.
Cụ thể vào ngày 2/5/2018, Samsung đã được cấp rất nhiều bằng sáng chế thiết kế mẫu điện thoại gập của mình. Đáng chú ý những bằng sáng chế mới nhất cho thấy Samsung đang thiết kế một mẫu smartphone có thể gập 3 lại chứ không chỉ đơn giản là loại smartphone có thể gập đôi như tin đồn trước đây.
Mặc dù được cấp sáng chế không có nghĩa chắc chắn rằng Samsung sẽ sản xuất các thiết bị này. Rất nhiều thiết bị chỉ nằm trên sáng chế mà chưa bao giờ xuất hiện trong cuộc sống. Thêm vào đó, việc tạo ra mẫu smartphone gập sẽ gặp rất nhiều khó khăn.
Tuy nhiên, việc liên tục rò rỉ các bằng sáng chế điện thoại gập cho thấy Samsung rõ ràng đang suy nghĩ và nghiên cứu về loại hình smartphone độc đáo như vậy. Đương nhiên, cơ hội mà thiết kế về mẫu điện thoại vẫn được gọi tên bấy lâu Galaxy X có thể trở thành sản phẩm thực là điều không phải không thể.
Cùng soi kỹ thiết kế mới của điện thoại gập mà Samsung mới được cấp bằng sáng chế dưới đây:

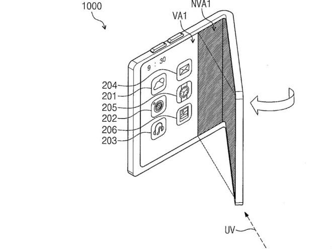
Mới nhìn dòng sản phẩm này cũng giống như các mẫu smartphone thông thường khác.

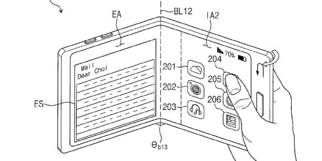
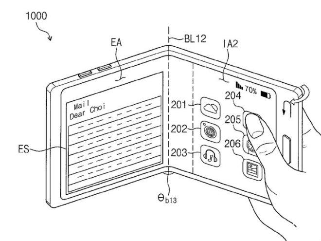
Nhưng nó có thể gập lại ở giữa màn hình.

Lúc đó bạn sẽ có chế độ tách đôi màn hình với một bên là các ứng dụng và một bên là các tính năng khác.

Hoặc có thể sử dụng một ứng dụng tràn sang cả hai phần màn hình khi gập.

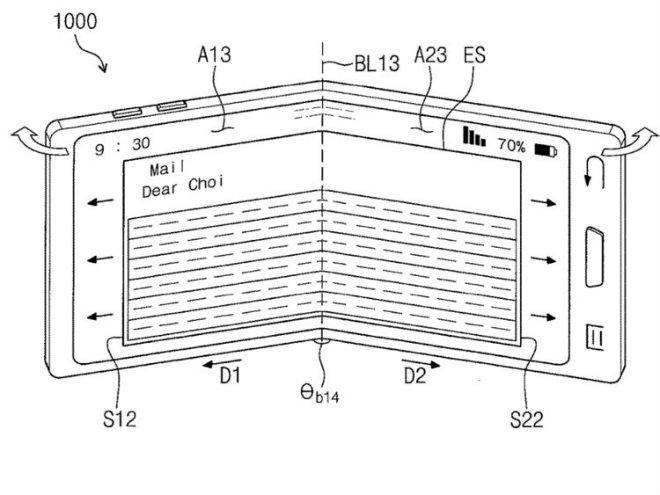
Điện thoại đang được gập dần vào.

Có thể gập khít vào nhau.

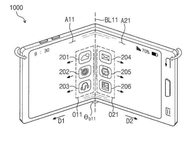
Không chỉ có bằng sáng chế điện thoại thông minh gập đôi, lần này Samsung còn có bằng sáng chế với loại smartphone gập 3.

Mẫu smartphone này có thể gập 3 khít như vậy sẽ làm giới công nghệ rất ngạc nhiên.

Trên màn hình thứ 3 có thể chứa tính năng báo tin.

Ứng dụng có thể hiển thị cho cả hai phần màn hình.

Hoặc chỉ ở một phần màn hình.
Theo Dân Việt
