Trong khi một số hãng xe đang nỗ lực đơn giản hóa việc sửa chữa, hướng tới các giải pháp thân thiện hơn với người dùng và thợ độc lập, thì một số nhà sản xuất khác dường như lại âm thầm đi theo chiều ngược lại. Mercedes-Benz gần đây gây chú ý khi chuyển từ keo sang ốc vít để việc thay thế cụm đèn chiếu sáng bớt phức tạp. Trái lại, đối thủ lớn nhất của hãng là BMW lại đang thử nghiệm một hướng tiếp cận có thể khiến việc tự sửa xe trở nên khó khăn hơn đáng kể.
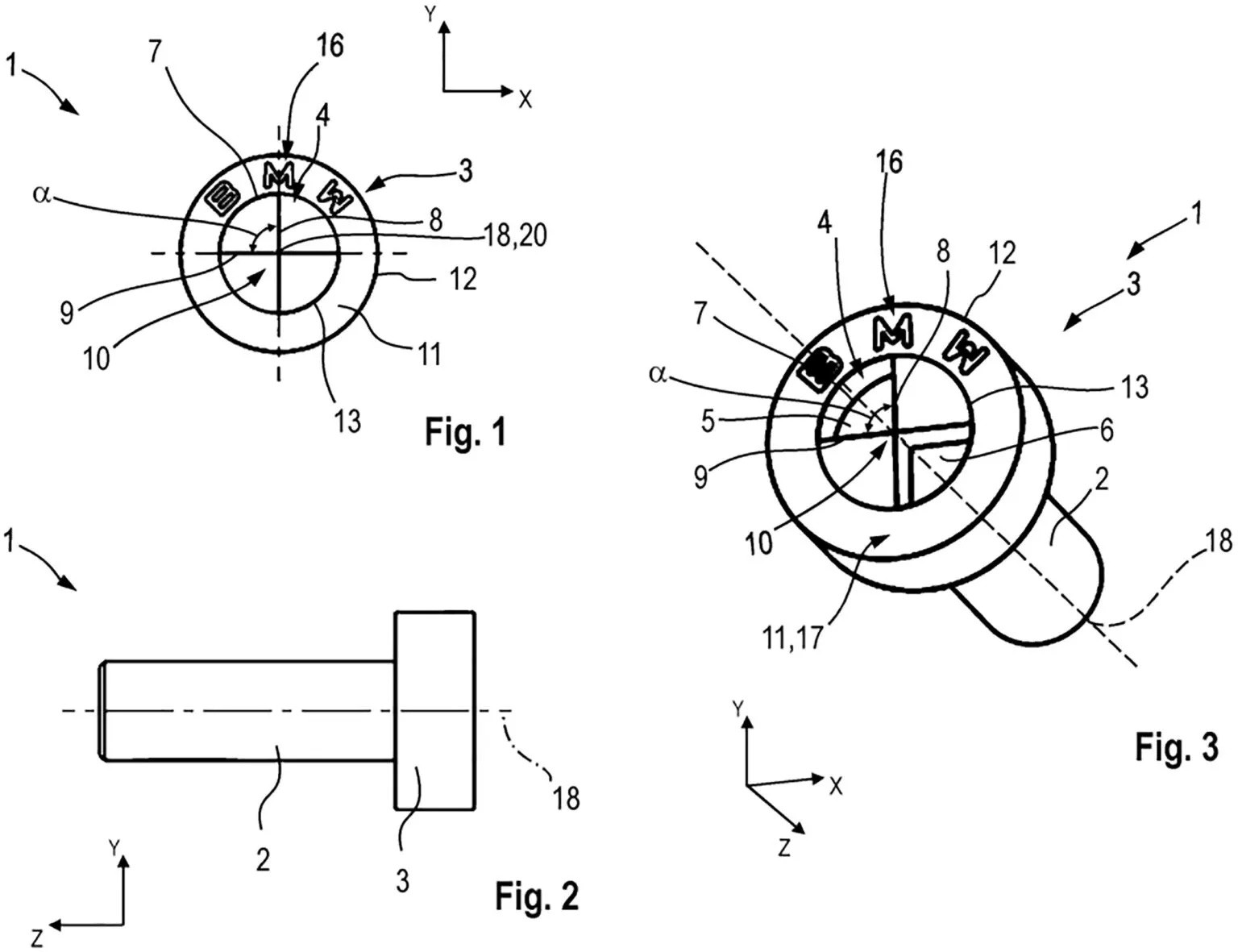
Theo thông tin từ Autoblog, BMW đã nộp hồ sơ đăng ký bằng sáng chế cho một loạt thiết kế đầu ốc hoàn toàn mới, lấy cảm hứng trực tiếp từ logo của hãng. Thay vì sử dụng các loại ốc vít tiêu chuẩn, BMW đề xuất các đầu ốc mang hình tròn đặc trưng của logo, chia thành bốn phần giống cấu trúc biểu tượng quen thuộc trên các mẫu xe của hãng.



Trong hồ sơ sáng chế, BMW mô tả bốn kiểu đầu ốc khác nhau, bao gồm dạng ổ cắm, dạng phẳng và dạng bo tròn. Dù hình thức khác nhau, tất cả đều có chung cấu trúc bốn khoang. Hai khoang được khoét lõm, trong khi hai khoang còn lại có thể phẳng hoặc nhô cao, tạo nên một hình dạng đặc biệt gần như chắc chắn đòi hỏi dụng cụ chuyên dụng để tháo lắp.
Ở góc độ thẩm mỹ, các đầu ốc mang dấu ấn thương hiệu này có thể tạo điểm nhấn thú vị nếu xuất hiện ở những vị trí dễ quan sát trong khoang động cơ hoặc nội thất. Tuy nhiên, với thợ sửa chữa và người dùng phổ thông, chúng lại là câu chuyện hoàn toàn khác. Các bộ dụng cụ tiêu chuẩn sẽ khó có khả năng tương thích, đồng nghĩa với việc bất kỳ ai muốn tiếp cận những bộ phận cố định bằng loại ốc này có thể buộc phải sử dụng dụng cụ riêng do BMW cung cấp.
Điều này không khó để hình dung sẽ gây ra không ít phiền toái tại các xưởng dịch vụ độc lập. Khi các loại đầu vặn thông dụng không còn tác dụng, việc sửa chữa sẽ phụ thuộc nhiều hơn vào thiết bị chuyên biệt. Với những người không phải đại lý chính hãng hay người chơi xe BMW lâu năm, chỉ thiếu đúng một đầu vít phù hợp cũng đủ khiến công việc bị đình trệ.

Phản ứng trên các diễn đàn và mạng xã hội nhanh chóng cho thấy sự hoài nghi. Nhiều người yêu xe cho rằng đây là một rào cản mới đối với những chủ xe muốn tự bảo dưỡng hoặc sửa chữa phương tiện của mình. Một số ý kiến khác lại tỏ ra thực tế hơn, nhận định rằng các nhà sản xuất phụ kiện hậu mãi sẽ sớm tung ra các đầu vít tương thích. Thậm chí có người còn đùa rằng các phiên bản sao chép có thể xuất hiện trên các sàn thương mại điện tử trước cả khi BMW kịp đưa loại ốc này lên xe thương mại.
Dĩ nhiên, khả năng những thiết kế này được áp dụng thực tế vẫn còn bỏ ngỏ. Ngành ô tô vốn chứng kiến không ít bằng sáng chế chỉ dừng lại ở bản vẽ. Theo hồ sơ, các thiết kế đầu ốc mang logo BMW được nộp vào ngày 7/6/2024 và được công bố công khai vào ngày 11/12/2025. Ở thời điểm hiện tại, tất cả vẫn chỉ nằm trên giấy.
Dù các đầu ốc đặc biệt của BMW có trở thành hiện thực hay không, xu hướng chung vẫn khiến nhiều người lo ngại. Xe hơi ngày càng phức tạp bởi điện hóa và công nghệ số, khiến chủ xe phụ thuộc nhiều hơn vào hệ thống dịch vụ chính hãng. Nếu những chi tiết tưởng chừng nhỏ như ốc vít cũng được “độc quyền hóa”, việc sửa chữa và bảo dưỡng trong tương lai có thể sẽ còn khó tiếp cận hơn nữa đối với người dùng phổ thông.
Theo Người đưa tin